导读:近日,天涯社区被曝无法打开,引发网友们的集体怀旧和感慨。知情人士透露,天涯社区已拖欠海南电信十几年的服务器费用,金额高达一千多万。
今日,有网友发现天涯社区官网已无法打开,相关页面显示“无法访问此网站”。另外,天涯社区APP也无法正常打开,页面显示“无网络连接”。
此前,天涯社区官方微博曾于4月1日发布公告称,近期将进行技术升级和数据重构,在此期间平台将无法访问,“请大家耐心等待”。
虽然官网不能打开,但天涯社区官方微博仍在积极“营业”。网友在其今日发布的数条消息下留言询问:“天涯社区打不开了,怎么回事?”“你家都没了,还发微博呢,赶紧回复啊”“你家主站崩了?”“真服了,一个月了快,也没有句痛快话。”“都不解释一下哈?”
截至发稿,天涯社区官方微博尚未就此事发布任何声明。
在发现天涯社区无法正常打开后,网友在社交平台上掀起“悼念潮”:天涯关了,咫尺天涯,永不再见。
天眼查App显示,天涯社区网络科技股份有限公司成立于1999年4月,隶属天涯社区网络科技股份有限公司,是一个全球华人网络社区平台,不仅是《鬼吹灯》《明朝那些事》等知名小说的诞生地,还曾捧红不少网络红人。平台每月覆盖品质用户超过2亿,注册用户超过8500万,拥有上千万高忠诚度、高质量用户群所产生的超强人气、人文体验和互动原创内容。
法定代表人为邢明,注册资本9300万人民币,由邢明、海南达维互联网投资管理有限公司、北京君联创业投资中心(有限合伙)等共同持股。该公司对外投资企业共16家,其中14家为存续状态,版图涉及网络科技、文化传播、电子商务、投资领域。
据启信宝,风险信息显示,目前该公司存在6条被执行人信息,累计执行标的超1.46亿元。
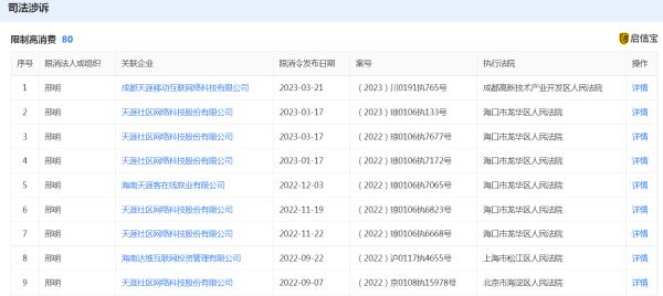
同时,天涯社区创始人邢明有80条限制消费令。
此外,该公司还涉及数百个案件,案由包括名誉权纠纷、侵害作品信息网络传播权纠纷等。
(正观新闻综合每日经济新闻、四川观察、天涯社区官网、启信宝、公开资料)


